太阳成集团tyc7111cc-2020年发布的十大互联网术语 他们的商标注册怎么样?
2020年度十大网络用语正式出炉!网络语言鲜明的语言特色是网民表达情感和态度的独特方式。
2020年度十大网络用语正式出炉!网络语言鲜明的语言特色是网民表达情感和态度的独特方式。
图片来源于网络

由国家语言资源监测与研究中心公布的2020年度十大网络用语依次为:
1、逆行者(指逆向行走的人,常指在危险面前挺身而出的强者,如新冠肺炎抗击肺炎中最美的“逆行者”)
2、秋天的第一杯奶茶(指秋天,情侣、密友或家人以喝奶茶的名义发红包来表达他们的亲密关系。金额多为52.0元。谐音“我爱你”)
3、带货(指明星、网络名人、网络营销人员等。
通过现场视频和其他方式销售商品)
4、云监工(现在指的是希望通过网络远程监控某些东西)
5、光盘行动(“光盘”的意思是吃掉盘子里所有的工具。“光盘行动”旨在使人们养成节约的习惯,养成珍惜食物、杜绝浪费的习惯)
6、奥利给(单词“给力哦”的反向读法因使用网络主播而流行。作为一种感叹,它包含了很多情感色彩(如赞美、欢呼、喝彩)
7、好家伙最早是相声中常见的语气词。晕倒后,网友通常会加上“好家伙”来增强自己吐槽某事或对某事感到惊讶时的语气)
8、夺冠(这个词流行是因为同名皮影戏《夺冠》。
皮影戏展现了中国女排几代球员不公平输球的实力。这种默默付出、顽强拼搏的“女排精神”已经成为“中国精神”的缩影)
9、不约而同(以前指在没有事先协商的情况下同意对方的观点或行动。因为新冠肺炎肺炎疫情,这个词有了新的含义:不约会不聚会成了大家配合的规则)
10、集美(某网络主播直播时经常把“姐妹”念成“集美”,亲密可爱,网友们纷纷效仿,称自己为好姐妹)
新冠肺炎的肺炎疫情猝不及防,“好家伙”繁忙的街道突然变得冷清。
“不约而同”人通过国内的“云监工”关注战争的“流行病”。
中国在抗击疫情的斗争中取得了巨大的战略成果。
最美的“逆行者”在抗击疫情的斗争中做出了巨大的孝心。让我们一起把“秋天的第一杯奶茶”献给他们。
疫情对经济运行造成了打击。各行各业的人都加入了“带货”,的行列,邀请兄弟和“集美”帮助当地的经济增长。
生活水平在不断提高,但我们仍然需要警惕食物的宁静,坚持“光盘行动”.电影《夺冠》让人记住了令人激动的“女排精神”。让我们为中国女排欢呼一个“奥利给”。
企业成长的捷径除了实事求是没有太多。
//p5.itc.cn/images01/20201208/21a4a78cb50147188818a047e8068d9c.jpeg">不难看出受疫情影响在“逆行者”有了较高热度和流传度之后就成了不少申请人注册商标的选择。

既然是年度十大网络用语那么热度和流量自然就不会低;既然有热度那么拼速度的商标人肯定就不会错过。
究竟有不少商标人都普遍认为流传甚广的网络用语若是被注册成商标就很容易在市场中打开自家商品的知名度而且还能借此节约一定的广告宣传资金。
下面就让我们一起来看看关于2020年度十大网络用语的商标注册情况吧!

通过商标查询效果显示停止现在关于“逆行者”的商标共有238件。其中在2020年申请的就有192件占据总数的多数并在2020年的1月至3月期间泛起了麋集的扎堆申请。
在看完以上2020年度十大网络用语的商标注册情况后我们可以发现对于一些在特殊节点上突然爆火的网络用语将其迅速抢注为商标仍然是个体企业到场市场竞争的手段。

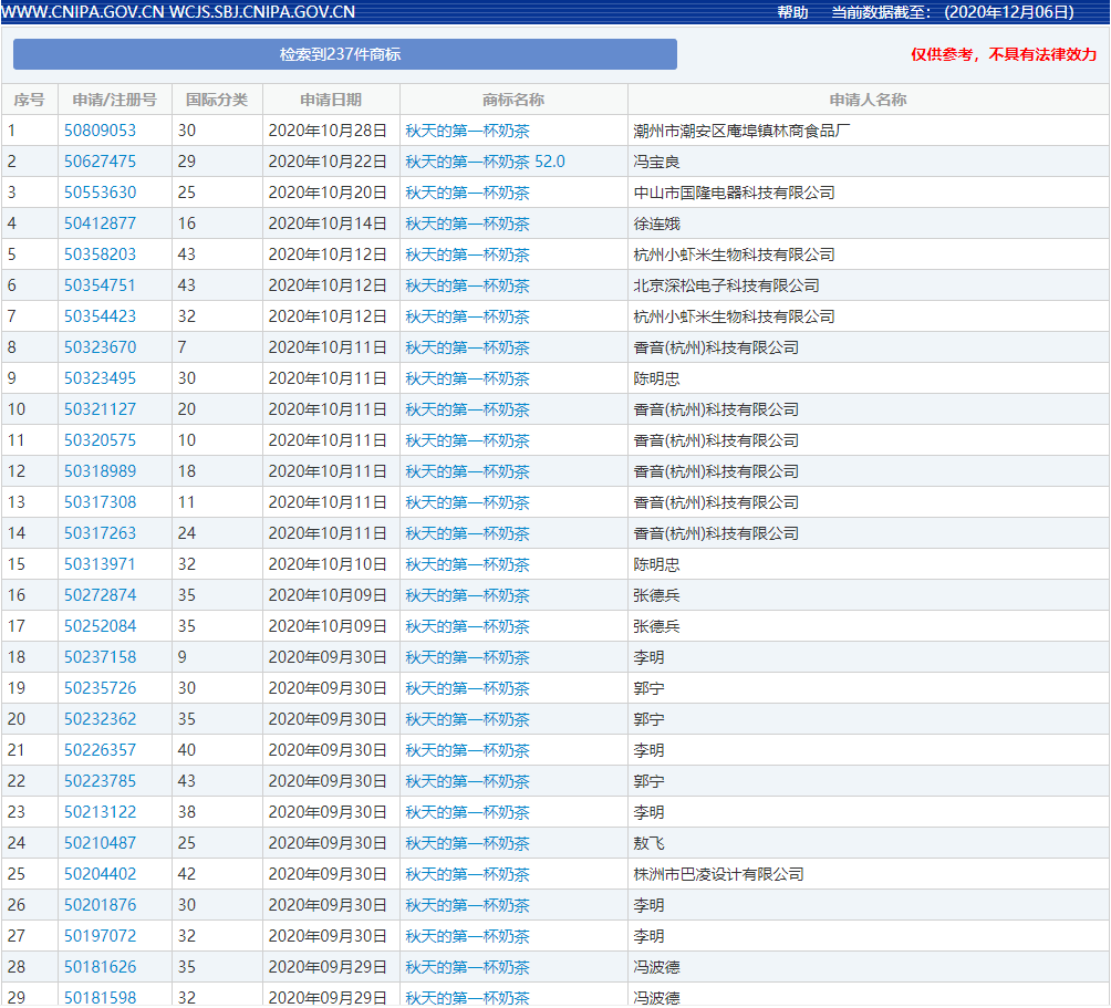
而在这年度十大网络用语中泛起大量抢注情况的就非“秋天的第一杯奶茶”莫属了。
停止现在与之相关的商标共有237件。从申请时间上来看普遍是在该词汇于今年9月火爆网络之后才开始的大量抢注而且扎堆集中在9月24日至9月30日前后仅仅在这几天内就有212件的注册申请可见抢注商标的力度很是大。

关于“带货”一词停止现在相关的商标共有186件。
相较于以上两个网络用语将“带货”注册商标的大多为“带货”一词衍生的关联词汇注册商标的整体情况相对比力合理正常。

在商标注册上同样泛起抢注的另有“云监工”停止现在关于“云监工”的商标共有26件。
虽然注册的数量不多但从申请时间上仍能看出显着的抢注趋势。同样是在2020年头疫情发作的事态下当云监工一词降生于网络之时仅在2月期间就有21件注册申请占据总体的大多数。
同时直接使用网络用语申请商标企业在谋取利益的同时也会负担着庞大风险。

再看看“光盘行动”停止现在与之相关的商标共有26件依据查询效果显示最早的于2013年1月29日申请最近的则是于2019年10月25日申请整体注册情况也是相对比力正常。

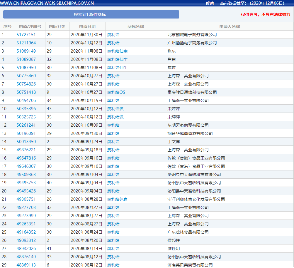
接着看“奥利给”停止现在与之相关的商标共有109件。从注册情况上看“奥利给”一词在2020年共有85件注册申请可以看出是在2020年内才开始的广泛注册而且大部门均是以“奥利给”三个字作为商标举行的注册几多存有抢注嫌疑。

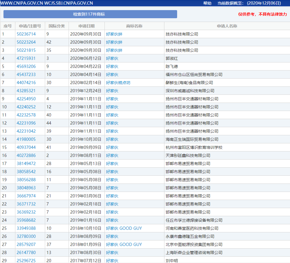
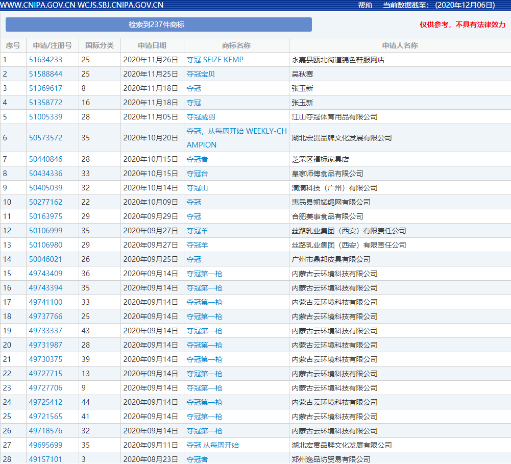
而关于“好家伙”、“夺冠”和“不约而同”三个网络用语停止现在相关的商标划分共有117件、237件和10件整体的商标注册情况都基本属于稳定和正常。



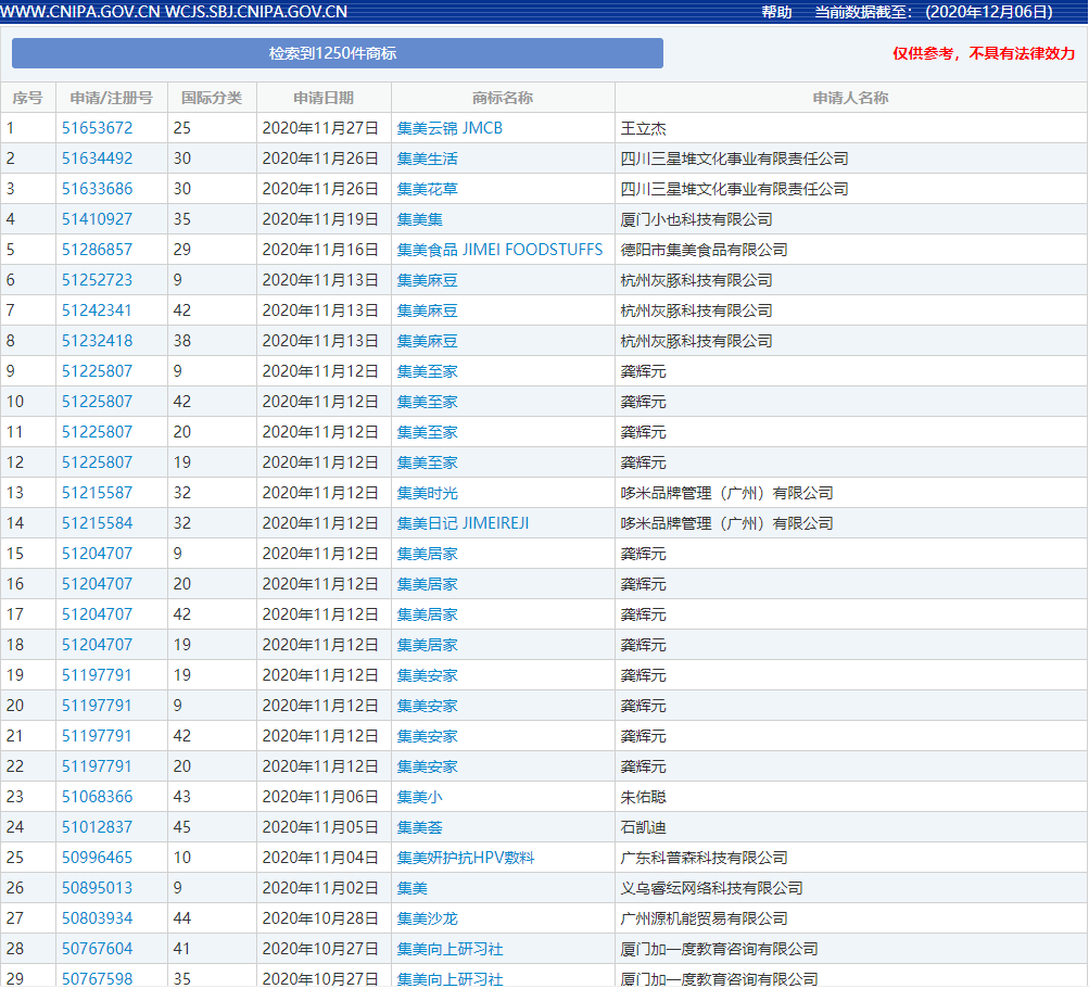
最后再看“集美”一词停止现在与之相关的商标共有1250件。
透过今年的十大盛行网络用语一幅鲜活生动的网民生活百态图跃然纸上。

随着“云监工”一词热度的减退3月事后就基本没有泛起更多的注册申请。
虽然有着敏锐的商机嗅觉和强烈的商标掩护意识是一件好事但如果仅仅是盲目的看重网络热词的热度和流量而“随大流”的就去抢注商标这并非是明智之举。
在将网络用语注册商标时不仅要全面考量词汇是否满足《商标法》相关划定有无伤害社会主义道德风俗或其他不良影响的因素;而且还要思量作为商标是否具有显著性、是否存在近似商标否则就很容易被驳回白白浪费时间和精神。


关注云葫芦知产专业资讯尽在掌握!
网络用语的热度就像是昙花一现它没有太长的连续性往往就是热得快冷得也快。
不信就可以想想去年的网络用语你都还记得几个?
虽然整体注册数量较多但从注册情况上来看单独使用“集美”一词注册商标的并不多普遍均是通过接纳与“集美”一词组合的方式而注册的商标所以也并无不妥。
因此云葫芦建议列位申请人还是更应该回归到本质在产物上多下功夫联合自身的实际情况和产物属性实时注册合适的商标并科学完善商标种别结构。
“2020年度十大网络用语”基于国家语言资源监测语料库(网络媒体部门)接纳“以智能信息处置惩罚技术为主兼顾领域专家意见和搜索引擎收录情况”的方式获得。

创新是企业的生命源泉创新的连续离不开知识产权的掩护。云葫芦APP作为各企业的知识产权创新赋能同伴针对商标方面提供全方位的精准项目管理项目模块划分清晰依据宽大用户的差别需求提供差别领域的专业指导服务高效地资助用户解决商标方面存在的各种疑难。
操作简朴商标数据信息同步国家知识产权局精准全面随时随地就可以在线完成各项商标业务的正常管理。
云葫芦APP页面截图
同时大家还可以关注“云葫芦”的民众号定时更新分享知产行业最新资讯和政策福利行业干货一键掌握知产掩护不走丢!
商标作为企业的无形资产是打造品牌不行或缺的一部门。
网络热词虽然看似能够在短时间内让品牌获得更好的流传可是一旦等到热渡过去了之后此类型的商标未必能够经受得住时间恒久的磨练很是倒霉于品牌的久远稳步生长。
最后问问大家关于2020年度十大网络用语你最常用的都是哪些?评论区留言一起说说吧~
。本文关键词:太阳成tyc7111,太阳成集团tyc7111cc,太阳成tyc7111cc
本文来源:太阳成tyc7111-www.shengwangbao.com
同类文章排行
- 运动轿车市场有新思域等 还需不需要全新名爵6?|太阳成集团t
- 太阳成tyc7111| 中国移动谈数字人民币:可能会重塑未来
- 打造视频化用户生态体系 吉利发布“1760计划”‘太阳成集团
- 太阳成tyc7111cc|让幸福的信号“全覆盖”
- 绿叶医疗携克利夫兰医学中心齐议中美健康合作|太阳成集团tyc
- 无抗养殖是什么意思?有哪些难点?滥用抗生素有什么危害?-太阳
- 那些填不完的表格有多大用|太阳成tyc7111
- 太阳成集团tyc7111cc_宝宝发烧是什么原因引起的 一起
- “太阳成tyc7111cc”中国已累计2034万人接种甲流疫
- 太阳成tyc7111cc:陕西:陕西户县:葡萄在第二十三届杨





